返回主站
首页
开放数据
开放指数
数据图谱
交流互动
数据需求
数据需求列表
应用展示
首页
>
开放数据
>
数据详情
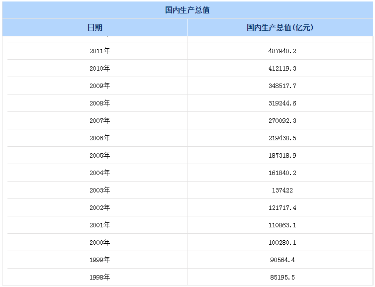
国内生产总值(GDP)
纠错
分享
数据摘要
包含各年度国内生产总值。
主题名称
国内生产总值(GDP)
更新频率
年
数据提供方
其他
最后更新时间
无数据更新
开放属性
完全开放
数据主题
其他
数据类型
统计数据
数据格式
HTML XML
下载量/调用量
0 / 0
数据查询
商务数据中心-国内生产总值(GDP)
数据接口
XML
我要评价
评价
无障碍浏览
智能问答
移动端
邮箱登录
关注微博
微信公众号
@国务院 我来说